疫情最新数据揭示第二波疫情挑战
摘要:当前面临疫情最新数据和第二波疫情的挑战。随着病毒变异和全球传播,疫情数据持续更新,防控形势依然严峻。第二波疫情的挑战可能更加复杂和严峻,需要全球共同努力,加强防控措施,提高疫苗接种率,加强国际合作和信息共享。只...
民间借贷利率最新消息及影响分析概述
摘要:最新民间借贷利率消息显示,随着市场环境的不断变化,民间借贷利率也呈现出新的变化。这些变化对于借贷双方、金融市场以及经济发展均产生了一定的影响。本文将分析这些最新消息及其背后的原因,探讨其对市场的影响,并简要分析...
安徽疫情最新消息,坚定信心,共克时艰
安徽疫情最新消息显示,全省坚定信心,共克时艰。在疫情防控的关键时刻,各地采取严格措施,确保人民群众生命安全和身体健康。全省人民积极响应,共同参与到这场防疫阻击战中,展现出了顽强拼搏的精神和众志成城的决心。目前,安徽疫...
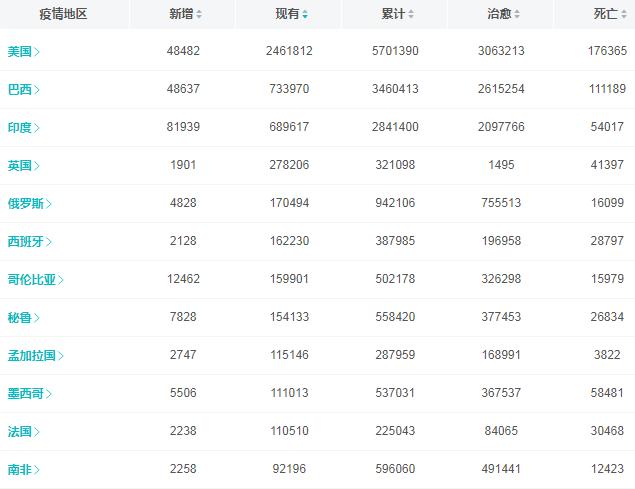
中国最新确诊病例数据及其影响分析
中国最新确诊病例数据呈现稳定态势,但仍然存在一定影响。疫情的防控工作仍然严峻,需要继续加强各项防疫措施。新确诊病例的数量需要密切关注,同时需要采取有效的措施来遏制疫情的传播。对于疫情的影响,需要全面评估其对经济、社会...
四川绵阳暴雨来袭,城市应对策略与韧性展现
四川绵阳遭遇暴雨,城市积极应对挑战展现韧性。面对雨水侵袭,绵阳市采取多项措施保障市民生活与安全。城市排水系统高效运作,及时排除积水;相关部门迅速响应,展开抢险救援行动;市民也积极配合,共同应对暴雨带来的不便。此次暴雨...
华为最新系统与安卓深度解读及前瞻分析
华为最新系统是对安卓系统的深度解读与前瞻。该系统不仅集成了安卓的最新技术,还融入了华为独特的创新。它优化了用户体验,提高了系统的流畅性和稳定性,同时增强了隐私保护和安全性能。该系统还展现出对未来技术趋势的前瞻性,预示...
新冠病毒最新症状概述
新冠病毒的症状摘要如下:患者可能出现发热、咳嗽、乏力等典型症状,部分病例还伴有咽痛、流鼻涕、鼻塞、肌肉或关节痛、嗅觉或味觉减退等症状。严重病例可能会出现呼吸困难、休克等。这些症状因个体差异和病毒变异可能有所不同。如有...
王世军最新动态,开启新篇章
王世军最新消息揭晓,开启新的篇章。据悉,他在近期取得了显著的成绩和进展,为未来的发展奠定了坚实的基础。这一消息引起了广泛关注,展现出他在未来可能取得的更大成就。具体细节和更多内容尚待进一步揭晓,值得期待。...
蜜雪冰城最新菜单,美味时尚前沿的探索
蜜雪冰城推出最新菜单,融合美味与时尚元素。新品菜单涵盖多款精选饮品,注重口感与创意的结合,满足您对美味的追求。探索最新时尚风味,体验独特的饮品文化,蜜雪冰城带您领略美味与时尚的前沿。无论是甜蜜的奶茶、清新的果汁还是醇...
伊郎新冠病毒最新疫情动态更新
摘要:根据最新消息,伊郎正在经历新冠病毒疫情。目前,疫情形势严峻,伊郎政府正在采取一系列措施来应对疫情。具体的感染人数、死亡人数和治愈人数等最新数据正在不断更新中。人们呼吁加强防疫措施,保持社交距离,遵守卫生规定,共...











沪公网安备22000000000001号
沪ICP备22000001号